-
详细信息
一、PBQ940F电动侧装偏心半球阀 产品概述
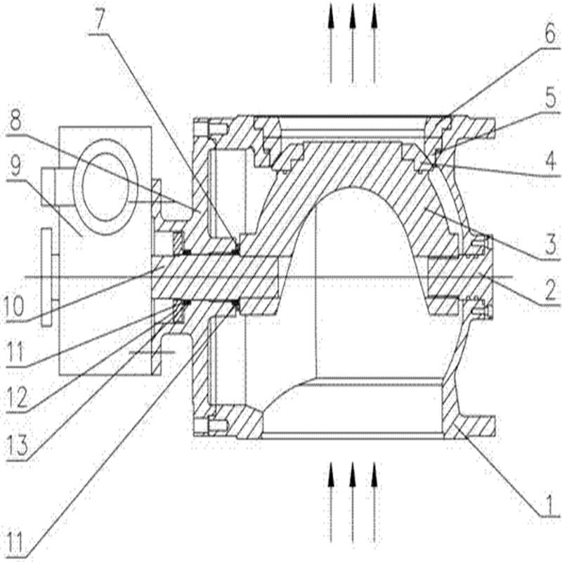
本实用新型公开了一种自密封偏心半球阀,包括阀体,阀体内设有进液腔,阀体的一端设有与进液腔连通的进水孔、另一端设有与进液腔连通的出水孔,阀体顶部连接有阀盖,阀盖上连接有主阀轴,阀体底部设有副阀轴,进液腔内设有连接在主阀轴和副阀轴上的半球状阀板,半球状阀板的表面上包覆有弹性密封层,所述半球状阀板密封面的弹性密封层与进水孔的内端口部位接触配合后可形成实现轴向密封的轴向密封副;所述半球状阀板密封面上的弹性密封层与进水孔的孔壁接触配合后可形成具有径向自密封效果的径向密封副。该阀结构简单,具有轴向密封和径向密封双重效果,不易造成渗漏或泄漏,开启扭矩小,可延长阀门的使用寿命。

结构紧凑,通用性强,流量特性为近似等百分比,可调范围大,*大可调比为100:1。电动偏心半球阀V型球阀适用150~600LB、PN1.6~6.4MPa,工作温度≤300℃的各种管路上(高温定制),用于调节节管路中介质的压力及流量,选用不同的材质,可分别适用于水、蒸汽、油品、硝酸、醋酸、氧化性介质、尿素、氨盐水、中和水等多种介质。(水、蒸汽、污水、纸浆、泥浆等非腐蚀介质)煤粉喷吹专用:用来控制含尘气体、颗粒流体的煤粉喷吹等固体输送的理想设备,广泛应用于冶金、选矿、电力等生产工艺中高炉煤粉喷吹、制粉系统以及除尘系统中的各种管线控制。它采用直通式结构,流道畅通,不会出现积灰堵塞现象,密封副采用Co-Cr-W合金材质,经过特殊热处理,阀门抗冲刷耐磨损,同时阀门偏心球面具有自动补偿的性能,通过蜗轮上调节螺栓,使密封副在一定程度磨损的情况下,仍可达到重新密封的效果。

目前,公知的偏心半球阀包括阀体,阀体内设有进液腔,阀体的一端设有与进液腔连通的进水孔、另一端设有与进液腔连通的出水孔,阀体顶部连接有阀盖,阀盖上连接有主阀轴,阀体底部设有副阀轴,进液腔内设有连接在主阀轴和副阀轴上的半球状阀板,半球状阀板的表面上包覆有弹性密封层。通过半球状阀板与进水孔内端口部位的配合对弹性密封层进行挤压使之变形来实现密封。上述结构的偏心半球阀,弹性密封层压缩变形较小时,易造成球阀渗漏或泄漏。如果增大压缩变形,会引起开、关扭矩增大且阀板寿命缩短。
产品特点
(1)流体阻力小,全通径的电动球阀基本没有流阻。
(2)结构简单、体积小、重量轻。
(3)紧密可靠。有两个密封面,而且目前球阀的密封面材料广泛使用各种塑料,密封性好,能实现完全密封。在真空系统中也已广泛使用。
(4)操作方便,开闭迅速,从全开到全关只要旋转90°,便于远距离的控制。
(5)维修方便,球阀结构简单,密封圈一般都是活动的,拆卸更换都比较方便。
(6)在全开或全闭时,球体和阀座的密封面与介质隔离,介质通过时,不会引起阀门密封面的侵蚀。
(7)适用范围广,通径从小到几毫米,大到几米,从高真空*压力都可应用。
(8)由于电动偏心半球阀在启闭过程中有擦拭性,所以可用于带悬浮固体颗粒的介质中。

所述半球状阀板密封面上的弹性密封层局部外凸从而形成可与进水孔的孔壁贴合的环唇,所述径向密封副由所述环唇的外侧面与进水孔的孔壁接触配合后形成。所述环唇的内侧面的轮廓线相对于所述进水孔的轴线倾斜设置,从而使所述环唇的内侧面成为圆锥面。
所述环唇的外侧面的轮廓线对于所述进水孔的轴线倾斜设置或平行设置,从而使所述环唇的外侧面为圆柱面或圆锥面。
半球状阀板的密封端面上的弹性密封层与进水孔的内端口部位接触配合后,二者可形成轴向密封副,从而实现轴向密封;弹性密封层与进水孔的孔壁接触后二者可形成径向密封副,从而实现径向密封。将所述环唇的内侧面设为圆锥面可以带来以下好处:流体压力作用在内侧面上后能产生径向分力,该径向分力可使环唇的外侧面与进水孔的孔壁贴合的更加严密,形成自密封。也就是说本实用新型既可通过弹性密封层实现轴向密封,也可通过环唇实现径向自密封。

PBQ940F电动侧装偏心半球阀主要技术参数
公称通径 DN(mm) 25 32 40 50 65 80 100 125 150 200 250 300 额定流
量系数
KV全腔型 14 25 30 55 100 135 230 320 500 850 1300 1750 60%腔型 - - - - - - - - 300 510 780 1050 40%腔型 6 10 12 20 40 54 92 128 200 340 520 700 允许压差(MPa) ≤公称压力 阀体形式 整体铸造球形体 阀芯形式 偏心旋转阀芯(带导流翼) 流量特性 近似等百分比 动作范围 全开60° 泄露量Q 软密封VI级、硬密封IV级,符合ANSI B16.104标准 基本误差 ±1% 回差 ±1% 死区 ≤1% 可调范围 全腔型(100:1)、60%腔型(60:1)、40%腔型(40:1) 配置执行机构 可配PSQ、HQ、UNIC、361RS、HR等系列角行程电动执行机构 控制方式 开关到位灯(开关两位控制)、无源触点信号、1/5K电位计、智能调节(4~20mA模拟量信号控制) 电源电压 AC220/380V,50/60Hz 输出力矩 HR:50N·M~2000N·M;HQ:50N·M~3000N·M 动作范围 0~90° 0~360° 动作时间 15秒/30秒/60秒 保护装置 过热保护 环境温度 -30°~60° 手动操作 同附件带手柄、手轮 限位 电气、机械二重限位 防护等级 相当于IP-65 防爆等级 ExdII BT4;特殊要求可定制ExdII BT6 位置测量 可选装开关或电位计 驱动电机 8W/E 进线接口 PE1/2〞进线线锁 五、主要设计标准
设计与制造 GB12237-89、API608、API 6D、JPI 7S-48、BS5351、DIN3357 法兰尺寸 JB/T74~90、GB9112~9131、HGJ44~76、SH3406、ANSI B16.5、JIS B2212~2214、DIN2543 结构长度 GB12221-89、ANSI B16.10、JIS B2002、NF E29-305、DIN3202 检验与试验 JB/T 9092、API 598、GB/T13927 零件名称 材料 阀体、阀盖 WCB 304(CF8) 316(CF8M) 316L(CF3M) 球体 2Cr13+氮化处理 304 316 316L 阀杆 2Cr13 304 316 316L 阀座密封圈 PTFE、碳素纤维+PTFE、对位聚苯、金属密封 密封填料 V型聚四氟乙烯填料、含浸聚四氟乙烯石棉填料、石棉纺织填料、石墨填料 公称通径 DN(mm) 25 32 40 50 65 80 100 125 150 200 250 300 L 法兰式 102 102 114 124 143 165 194 213 229 243 297 338 对夹式 62 62 62 75 80 100 115 130 160 200 240 334 H 60 60 65 95 105 120 140 155 165 205 240 270 H1 配HR 490 525 525 541 650 690 700 815 910 970 1090 1110 A 配HR 225 225 225 225 225 225 335 335 335 335 335 335 PN1.6MPa法兰连接尺寸 D 115 140 150 165 185 200 220 250 285 340 405 460 D1 85 100 110 125 145 160 180 210 240 295 355 410 D2 65 76 84 99 118 132 156 184 211 266 319 370 n-Φd 4-14 4-18 4-18 4-18 4-18 8-18 8-18 8-18 8-22 12-22 12-26 12-26 PN2.5MPa法兰连接尺寸 D 115 140 150 165 185 200 235 270 300 360 425 485 D1 85 100 110 125 145 160 190 220 250 310 370 430 D2 65 76 84 99 118 132 156 184 211 274 330 389 n-Φd 4-14 4-18 4-18 4-18 8-18 8-18 8-22 8-26 8-26 12-26 12-30 16-30 九、产品选型
(1)阀体参数:公称通径、工作压力、工艺介质、使用场合、阀体材料等系列参数。
(2)执行器参数:电源电压、控制方式、控制信号(4-20mA,1-5V)、作用方式(电-开式,电-关式)
尽量详细提供以上技术参数,方便我公司销售及技术人员为您准确选型。如有任何疑问.您可以致电给我们,我们一定会尽心尽力为您提供优质的服务!PBQ940F电动侧装偏心半球阀安装、拆卸及注意事项
8.1本电动装置的安装形式无原则要求,但电机处于水平状态,电气箱盖处于水平或垂直向上状态为推荐安装形式,这样有利于润滑、调试、维护和手动操作;
8.2安装时应保证维修检查人员拆卸各部件所需的空间;
8.3与阀门连接的螺栓不得低于8.8级;
8.4当需要拆卸时,应先将手动手轮旋转数圈,在阀门稍开状态下进行;
8.5安装、拆卸、调试时不可损伤密封面、密封件和防爆型电装的防爆面,并应在隔爆面上涂防锈油,电气罩盖应盖严紧固,以防雨水或潮气进入;
8.6视窗不得与硬物碰撞;
8.7本电动装置为短时工作制,持续工作时间不得超过铭牌标定时间;
8.8不阀门不经常使用时,应定期检查保养并操作运行,建议每月至少一次,运行时间不超过10分钟。
本实用新型要解决的技术问题是针对上述缺陷,提供一种密封效果好的自密封偏心半球阀。为解决上述技术问题,本实用新型提供了一种如下结构的自密封偏心半球阀,包括阀体,阀体内设有进液腔,阀体的一端设有与进液腔连通的进水孔、另一端设有与进液腔连通的出水孔,阀体顶部连接有阀盖,阀盖上连接有主阀轴,阀体底部设有副阀轴,进液腔内设有连接在主阀轴和副阀轴上的半球状阀板,半球状阀板的表面上包覆有弹性密封层,其结构特点在于:所述半球状阀板密封面的弹性密封层与进水孔的内端口部位接触配合后可形成实现轴向密封的轴向密封副;所述半球状阀板密封面上的弹性密封层与进水孔的孔壁接触配合后可形成具有径向自密封效果的径向密封副。所述轴向密封副由半球状阀板密封面上的弹性密封层与进水孔的内端口部位直接接触后形成。利用偏心阀体,偏心球体和阀座,阀杆作旋转运动时在共同轨迹自动定心,关闭过程中越关越紧,完全达到良好的密封目的。双偏心半球阀的球体和阀座完全脱离,消除了密封圈的磨损,克服了传统球体阀座与球体密封面始终磨损的问题,非金属弹性材料被嵌入金属座中,阀座金属面受到良好的保护。
电动偏心半球阀的关闭件是个球体,球体绕阀体中心线作旋转来达到开启、关闭的一种阀门。它的维护方法分以下三种情况:
一、电动偏心半球阀安装前:
1、核对半球阀标注通径,压力,温度是否符合使用工程条件;
2、消除运输,存储造成的缺陷;
3、将外表及流道清洗干净,检查并拧紧限位螺丝上的螺母。
二、电动偏心半球阀安装时:
1、按阀体上的介质流通方向直接安装在管道上。
2、用在含颗粒剂悬浮物的流体时其安装位置由水平管路安装及垂直管路安装两种方式。
三、电动偏心半球阀操作时:
1、顺时针旋转手轮为关闭,逆时针旋转手轮为开启,阀芯旋转98度为全开全闭。
2、时只能使用阀门配置的专用手轮,严禁借助于加长杆或其他操作。
3、应经常保持阀门清洁,定期检查传动机制是否润滑正常,及时排除故障隐患。
订货须知:一、①产品名称与型号②口径③是否带附件以便我们的为您正确选型④使用压力⑤使用介质的温度。
二、若已经由设计单位选定公司的型号,请型号直接向我司销售部订购。三、当使用的场合非常重要或环境比较复杂时,请您尽量提供设计图纸和详细参数,由我们的阀门公司专家为您审核把关。产品所属球阀选型,感谢您访问我们申弘阀门的网站如有任何疑问.您可以致电给我们,我们一定会尽心尽力为您提供优质的服务。如需要了解更多其它阀类产品的信息可以点击减压阀查看。
扫一扫,手机浏览




