-
详细信息
KF超高真空法兰式球阀产品说明
GU手动真空球阀用于接通或切断真空(压力)系统管路中的介质流。应用于真空、乳制品、酒业、生物工程、食品、制药、饮料、化妆品及化工领域。 真空阀门的几种常见连接形式上海申弘阀门有限公司主营阀门有:减压阀(气体减压阀,可调式减压阀,水减压阀
高真空球阀是一种手动阀门。它具有高流导,连接形式多样等特点,是真空和压力能同时兼用的一种阀门。适用的介质为非腐蚀性气体。是乳品、酒业、生物工程、食品、制药、饮料、化工、化妆品等领域的常选阀门。是应用在真空系统中(又能适用一定的压力下)开启或切断气流的高真空球阀。本阀门结构紧凑,美观,密封座补偿设计。有自动补偿密封座磨损功能,启闭力矩小,寿命长等优点。高真空球阀适用的工作介质为带酸、碱性的各类气体或液体。

性能特点:
①开关锁定设计:开关锁定在必须保持阀门现有的位置时防止意外被误操作的风险,球阀的平台和手柄带有锁孔,用挂锁将阀在关闭位或开启位锁定;
②高平台设计:采用ISO5211直接安装执行器的平台设计,无需连接支架和轴套,可直接安装驱动装置,便于实行智能化。

1、KF超高真空法兰式球阀法兰连接这是阀门中用得*多的连接形式。按结合面形状又可分为以下几种:
1)光滑式:用于压力不高的阀门。加工比较方便
2)凹凸式:工作压力较高,可使用中硬垫圈
3)榫槽式:可用塑性变形较大的垫圈,在腐蚀性介质中使用较广泛,密封效果较好。
4)梯形槽式:用椭圆形金属环作垫圈,使用于工作压力≥64公斤/平方厘米的阀门,或高温阀门。
5)透镜式:垫圈是透镜形状,用金属制作。用于工作压力≥100公斤/平方厘米的高压阀门,或高温阀门。
6)O形圈式:这是一种较新的法兰连接形式,它是随着各种橡胶O形圈的出现,而发展起来的,它在密封效果上比一般平垫圈可靠。

KF超高真空法兰式球阀参数定义:
1.公称通径:(nominal diameter),又称平均外径(mean outside diameter),表示符号DN,就是各种管子与管路附件的通用口径。同一公称直径的管子与管路附件均能相互连接,具有互换性.它不是实际意义上的管道外径或内径,虽然其数值跟管道内径较为接近或相等,为了使管子、管件连接尺寸统一,采用公称直径(也称公称口径、公称通径)。例如焊接钢管按厚度可分为薄壁钢管、普通钢管和加厚钢管。其公称直径不是外径,也不是内径,而是近似普通钢管内径的一个名义尺寸。每一公称直径,对应一个外径,其内径数值随厚度不同而不同。公称直径可用公制mm表示,也可用英制in表示。管路附件也用公称直径表示,意义同有缝管。
2.公称压力:(Nominal pressure),表示符号PN,在一定温度下应用时允许的*大工作压力。对碳钢阀体的控制阀,指200℃以下应用时允许的*大工作压力;对铸铁阀体,指120℃以下应用时允许的*大工作压力;对不锈钢阀体的控制阀,指250℃以下应用时允许的*大工作压力。当工作温度升高时,阀体的耐压会降低。例如,公称压力为6.4MPa(PN64)的碳钢控制阀,用于300℃时的耐压为5.2MPa,用400℃时的耐压为4.1MPa,用于450℃时的耐压为2.9MPa。因此,控制阀公称压力的确定不仅要根据*高工作压力,还需根据*高工作温度和材质特性,而不仅仅只需满足公称压力大于工作压力

主要技术性能:
阀门漏率:
≤1.3×10-4Pa.L/S.
适用温度:
-30~+150℃
-30~+150℃(PPL密封)适用范围:
连接型式
使用压力范围(Pa)
活套法兰(GB6070、JB919)
0.6×106~1.3×10-4
焊接法兰(GB6070、JB919)
1.6×106~1.3×10-4
快卸法兰(GB4982)
0.1×106~1.3×10-4
螺纹连接
1.6×106~1.3×10-4
螺纹连接的外形及连接尺寸(JB919)
型号
DN
G
H
E
L
GU-10(G)
10
1/4"
52
105
68
GU-16(G)
16
1/2"
64
130
72
GU-20(G)
20
3/4"
67
130
82
GU-25(G)
25
1"
83
165
90
GU-32(G)
32
1-1/4"
89
165
112
GU-40(G)
40
1-1/2"
100
190
120
GU-50(G)
50
2"
125
190
145
GU-63(G)
63
2-1/2"
150
250
185
GU-80(G)
80
3"
161
250
210
GU-100(G)
100
4"
180
280
268
活套法兰连接(GB6070)
型号
DN
D
Do
H
E
L
n-φc
GU-10(F)
10
55
40
52
105
84
4-φ6.6
GU-16(F)
16
60
45
64
130
84
4-φ6.6
GU-25(F)
25
70
55
83
165
114
4-φ6.6
GU-32(F)
32
90
70
89
165
140
4-φ9
GU-40(F)
40
100
80
100
190
160
4-φ9
GU-50(F)
50
110
90
125
190
170
4-φ9
GU-63(F)
63
130
110
150
250
195
4-φ9
GU-80(F)
80
145
125
161
250
220
8-φ9
GU-100(F)
100
165
145
180
280
280
8-φ9
快卸法兰连接(GB498)
型号
DN
D1
D
H
E
L
GU-10(KF)
10
12.2
30
52
105
84
GU-16(KF)
16
17.2
30
64
130
84
GU-25(KF)
25
26.2
40
83
165
114
GU-32(KF)
32
34.2
55
89
165
140
GU-40(KF)
40
41.2
55
100
190
160
GU-50(KF)
50
52.2
75
125
190
17

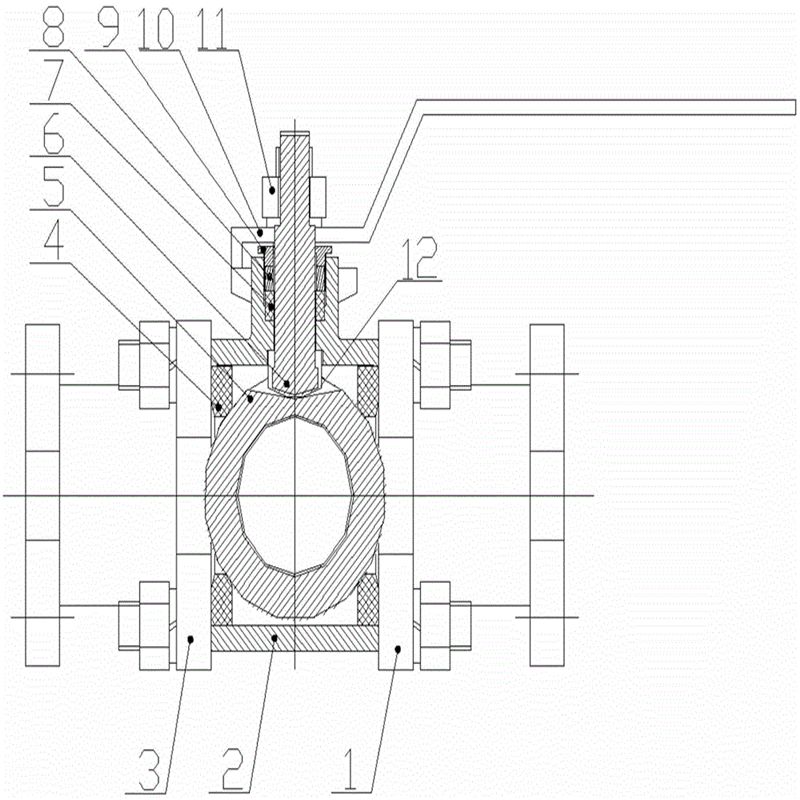
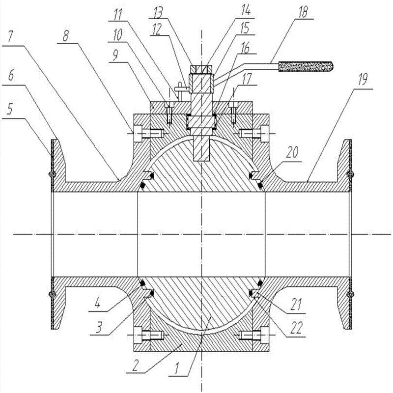
本发明的目的在于提供一种超高真空球阀,包括密封结构,密封结构用于在保证机械性能的前提下提高密封性能.超高真空球阀能够提高并保持球阀内部的真空度.密封结构包括由*密封材料形成的密封主体和由第二密封材料形成的密封加强体,所述密封主体包括用于密封的密封面;所述密封面上设置有凹槽,所述密封加强体嵌在所述凹槽中;所述密封加强体安装在所述密封主体上,并且突出所述密封面;所述第二密封材料的硬度小于所述*密封材料的硬度;超高真空球阀,其密封结构具有软密封的密封效果,实现了从低真空球阀到超高真空球阀的突破.

一、KF超高真空法兰式球阀球阀的安装
安装前的准备
1、球阀前后管线已准备好。前后管道应同轴,两法兰密封面应平行。管道应能承受球阀的重量,否则管道上必须配有适当的支撑
2、把阀前后管线吹扫干净,清除掉管道内的油污、焊渣和一切其它杂质
3、核对球阀的标志,查明球阀完好无损。将阀全开全闭数次证实其工作正常
4、拆去球阀两端连接法兰上的保护件
5、检查阀孔清除可能有的污物,然后清洗阀孔。阀座与球之间即使仅有微小颗粒的异物也可能会损伤阀座密封面
安装
1、把阀装上管线。阀的任何一端都可装在上游端。用手柄驱动的阀可安装在管道上的任意位置。但带有齿轮箱或气动驱动器的球阀应直立安装,即安装在水平管道上,且驱动装置处于管道上方
2、阀法兰与管线法兰间按管路设计要求装上密封垫
3、法兰上的螺栓需对称、逐次、均匀拧紧
4、连接气动管线(采用气动驱动器时)
安装后的检查
1、操作驱动器启、闭球阀数次,应灵活无滞涩,证实其工作正常
2、按管路设计要求对管道与球阀间的法兰结合面进行密封性能检查

二、球阀的维修
◆必须先查明球阀上、下游管道确已卸除压力后,才能进行拆卸分解操作
◆分解及再装配时必须小心防止损伤零件的密封面,特别是非金属零件,取出O 型圈时宜使用专用工具
◆装配时法兰上的螺栓必须对称、逐步、均匀地拧紧
◆清洗剂应与球阀中的橡胶件、塑料件、金属件及工作介质(例如燃气)等均相容。工作介质为燃气时,可用汽油(GB484-89)清洗金属零件。非金属零件用纯净水或酒精清洗
◆分解下来的单个零件可以用浸洗方式清洗。尚留有未分解下来的非金属件的金属件可采用干净的细洁的浸渍有清洗剂的绸布(为避免纤维脱落粘附在零件上)擦洗。清洗时须去除一切粘附在壁面上的油脂、污垢、积胶、灰尘等
◆非金属零件清洗后应立即从清洗剂中取出,不得长时间浸
◆清洗后需待被洗壁面清洗剂挥发后(可用未浸清洗剂的绸布擦)进行装配,但不得长时间搁置,否则会生锈、被灰尘污染
◆新零件在装配前也需清洗干净
◆使用润滑脂润滑。润滑脂应与球阀金属材料、橡胶件、塑料件及工作介质均相容。工作介质为燃气时,可用例如特221 润滑脂。在密封件安装槽的表面上涂一薄层润滑脂,在橡胶密封件上涂一薄层润滑脂,阀杆的密封面及摩擦面上涂一薄层润滑脂
◆装配时应不允许有金属碎屑、纤维、油脂(规定使用的除外)灰尘及其它杂质、异物等污染、粘附或停留在零件表面上或进入内腔

订货须知:一、①产品名称与型号②口径③是否带附件以便我们的为您正确选型④使用压力⑤使用介质的温度。
二、若已经由设计单位选定公司的型号,请型号直接向我司销售部订购。三、当使用的场合非常重要或环境比较复杂时,请您尽量提供设计图纸和详细参数,由我们的阀门公司专家为您审核把关。产品所属球阀选型,感谢您访问我们申弘阀门的网站如有任何疑问.您可以致电给我们,我们一定会尽心尽力为您提供优质的服务。如需要了解更多其它阀类产品的信息可以点击减压阀查看。
扫一扫,手机浏览

