-
详细信息
BFL641H气动保温放料阀 产品说明
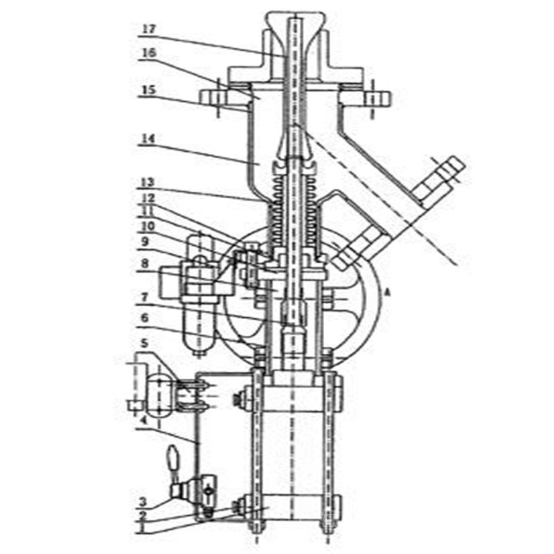
是用气动执行器控制阀门,性能与用途:操作方便,开启自由,运动灵活可靠;阀瓣装配简单,密封结构合理,密封圈更换方便实用。 结构:由阀体,阀瓣,密封圈,阀杆,支架,阀压盖,手轮,法兰,螺母,定位螺钉等零件。气动保温放料阀,保温夹套气动放料阀是用气动执行器控制阀门,性能与用途:操作方便,开启自由,运动灵活可靠;阀瓣装配维修简单,密封结构合理,密封圈更换方便实用。 结构:主要由阀体,阀瓣,密封圈,阀杆,支架,阀压盖,手轮,法兰,螺母,定位螺钉等零件。
BFL641H气动保温放料阀应用范围:
(一)、气动保温放料阀耐腐蚀性
1、保温夹套气动放料阀使用介质如水、丙酮、酒精、氨、碳酸钡、苯(WCB材质的*低用温度为-29℃,*高温度为425℃。)
2、气动保温放料阀使用介质如颗粒、油品、纸浆、二氧化碳气体(不锈钢材质的*低使用温度为-100℃,*高使用温度为232℃。)
3、气动保温夹套放料阀严禁使用含氟离子液体(如HF等)也不能用强碱及磷酸(温度>150℃ 浓度>30%)。
(二)、不锈钢气动放料阀的一般工作温度:≤150℃
(三)、保温气动放料阀压力范围:0.6~2.5MPa
BFL641H气动保温放料阀产品原理:
1、封闭气源,在无气源压力下,轻松转变手轮,逐步使切换手柄推移至(合)指示牌,即可进行手动操作。
2、转变手轮,逆时针阀门开,顺时针阀门关。
工作原理:
1轻松转动手轮,将切换手柄推移到(分)指示牌,即可进动操作。
2、当气源进入电磁阀后,电磁阀自动开戾上(或下)输气口,电磁阀接通电源时,阀门自动开启,断电时阀门自动关闭。红色按钮为手动调试使用开关按钮。
3、当气源进入气缸上部时,将活塞推向下部,即关闭阀门。
4、当气源进入气缸下部时,将活塞推向上部,即开启阀门。
BFL641H气动保温放料阀零件材料与工况:
阀体
阀瓣、密封圈、阀杆
螺母
壳体试验
不锈钢
铜
BFL641H气动保温放料阀主要尺寸及重量:
口径
上展式
下展式
D
D3
H
D0
D
D3
H
D0
25
115
115
270
160
115
135
225
160
32
135
135
285
160
135
145
300
160
40
145
145
355
180
145
160
340
180
50
160
160
370
180
160
180
345
180
65
180
180
465
220
180
195
425
220
80
195
195
480
250
195
215
445
250
100
215
215
590
280
215
260
535
280
125
245
245
730
300
245
280
585
300
150
280
280
775
320
280
330
665
320

放料阀主要用于反应釜,储罐和其它容器的底部排料、放料、取样和无死区关断操作。借助于放料阀底部法兰
焊接于储罐和其它容器的底部,因此消除工艺介质通常在容器出口的残留现象. 放料阀根据实际情况的需要,放底结构设计为平底型,阀体为V型,并提供提升和下降两种工作方式阀瓣。阀体内腔有耐冲刷、耐腐蚀的密封圈,在开启阀门瞬间,可以保护阀体不被介质冲刷,腐蚀,并对密封圈进行特殊处理,使表面硬度达到HRC56-62,具有高耐磨、耐腐蚀的功能,阀瓣密封根据需要时封面均堆焊有硬质合金,密封副采用线密封,保证密封的可靠性,并可防止结疤。同时采取短行程阀瓣的设计。

BFL641H气动保温放料阀施工、安装要点
1)、安装位置、高度、进出口方向必须符合设计要求,连接应牢固紧密。
2)、安装在保温管道上的各类手动阀门,手柄均不得向下。
3)、阀门安装前必须进行外观检查,阀门的铭牌应符合现行国家标准《通用阀门标志》GB 12220的规定。对于工作压力大于1.0 MPa 及在主干管上起到切断作用的阀门,安装前应进行强度和严密性能试验,合格后方准使用。强度试验时,试验压力为公称压力的1.5倍,持续时间不少于5min,阀门壳体、填料应无渗漏为合格。严密性试验时,试验压力为公称压力的1.1倍;试验压力在试验持续的时间应符合GB 50243标准要求,以阀瓣密封面无渗漏为合格。本阀门操作方便,开启自由,运动灵活可靠; 阀瓣装配简单, 密封结构合理, 密封圈更换方便实用.

订货须知:
一、①产品名称与型号②口径③是否带附件以便我们的为您正确选型④的使用压力⑤的使用介质的温度。
二、若已经由设计单位选定公司的型号,请按型号直接向我司销售部订购。三、当使用的场合非常重要或环境比较复杂时,请您尽量提供设计图纸和详细参数,由我们的阀门公司专家为您审核把关。如有疑问:请:我们一定会尽心尽力为您提供优质的服务。提供全面、*的“阀门系统解决方案",也十分愿意帮助用户解决生产中所遇到的难题。
-
您可能感兴趣
扫一扫,手机浏览



